Diseño de PCB, Fabricación de PCB, tarjeta de circuito impreso, PEVD, y selección de componentes con un servicio único

Descargar | Acerca de | Contacto | Mapa del sitio

PCBA de radar de onda milimétrica - UGPCB

Asamblea del PWB/

PCBA de radar de onda milimétrica

PCBA de radar de onda milimétrica

capas de PCB: 4 - 6 capas

sustrato: RO3003 + Isola 370HR

Tratamiento de superficie de PCB: Plata de inmersión

Espesor de cobre de PCB: 1onz

Color de PCB: Verde, Negro, Blanco, Rojo, Azul

Pruebas de PCB: Sí

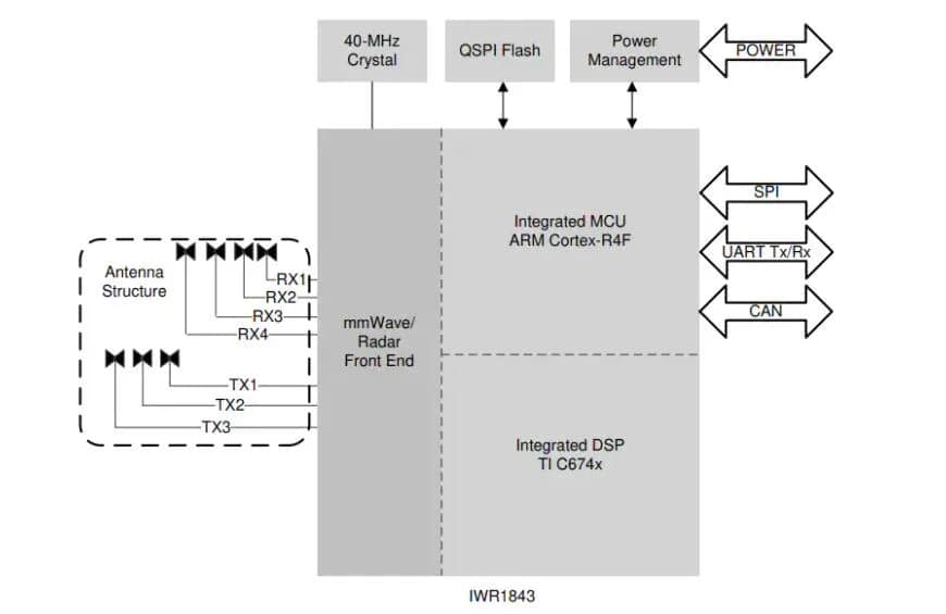
Chip: Texas Instruments IWR1843BOOST

Pruebas de PCBA: No

Solicitud: Radar de ondas milimétricas

76Sensor de onda milimétrica FMCW de GHz a 81 GHz

  • Detalles del producto

El radar de ondas milimétricas es uno de los principales métodos de detección para aplicaciones automotrices e industriales porque puede detectar objetos desde unos pocos centímetros hasta varios cientos de metros con una distancia de alta precisión., Precisión de ángulo y velocidad incluso en condiciones ambientales adversas..

La PCBA de radar de onda milimétrica típica incluye un chipset de radar y otros componentes electrónicos, como un circuito de administración de energía, dispositivos de interfaz periférica y memoria flash ensamblados en PCB. Las antenas transmisoras y receptoras también suelen estar realizadas en PCB., pero para lograr un alto rendimiento de la antena, materiales de PCB de alta frecuencia, como Rogers RO3003 e Isola 370hr, necesita ser usado.

PCB de radar de onda milimétrica

Los componentes principales del radar de ondas milimétricas incluyen una antena transceptora. (Texas&RX), unidad de radiofrecuencia (RF), convertidor analógico a digital (CAD), procesador de señal digital (DSP), microcontrolador (MCU), etc.. RF, CAD, DSP, MCU, etc.. se integran directamente en un SOC a través del proceso CMOS.

El radar de ondas milimétricas utiliza principalmente cuatro bandas de frecuencia de 24 GHz, 60GHz, 77GHz y 79GHz. 24GHz pertenece con precisión a la onda centimétrica. Debido a la distancia de medición limitada (unos 60m) y resolución general, A menudo está diseñado como un radar angular para detectar obstáculos a corta distancia en un amplio rango de ángulos de campo de visión.. Porque 60 GHz se ve particularmente afectado por la atenuación atmosférica., A menudo está diseñado como un radar de detección de signos vitales para detectar los signos vitales y la postura del personal en el vehículo.. 77GHz y 79 GHz suelen diseñarse como radares primarios debido a su larga distancia de medición. (unos 200 m), que son herramientas poderosas para la percepción de larga distancia. Estas dos bandas también son las bandas principales en el futuro campo del radar de ondas milimétricas montado en vehículos..

Inductores, condensadores, diodos, chips de potencia, etc.. están densamente construidos en la placa base de la fuente de alimentación, que es el principal responsable de la gestión de energía del sistema.. Cada empresa generalmente integrará un controlador de seguridad para proporcionar comunicación con el vehículo y funciones relacionadas con la seguridad..

Se puede decir que la placa base del radar es el núcleo de todo el radar de ondas milimétricas., incluyendo la antena, RF, DSP y placa de circuito de control.

PCBA de radar de onda milimétrica

Cuando la longitud de la antena es 1/4 de la longitud de onda electromagnética, la eficiencia de conversión de transmisión y recepción de la antena es la más alta. La longitud de onda de una onda milimétrica es de sólo unos pocos milímetros., entonces la antena se puede hacer muy pequeña. Mediante el uso de múltiples antenas para formar una matriz de antenas, También se puede conseguir un haz estrecho., y el haz estrecho significa una mayor resolución de azimut.

Actualmente, El esquema principal de la antena de radar de onda milimétrica es una matriz de microcinta.. El diseño más común es integrar la antena de parche microstrip en la PCB de alta frecuencia e integrar la PCB de alta frecuencia en la placa base del radar.. Este esquema reduce en gran medida el costo y el volumen del radar de ondas milimétricas..

Radar de onda milimétrica RF PCBA

RF es responsable de la modulación de la señal., transmisión, recepción y demodulación de señales de eco. Es la parte central de RF del radar de ondas milimétricas.. Actualmente, la solución principal es integrar los contenidos anteriores a través de MMIC (Circuito integrado de microondas monolítico) tecnología. MMIC es una tecnología para la fabricación de componentes pasivos y activos sobre sustrato semiconductor mediante tecnología de semiconductores..

En el campo del radar de ondas milimétricas, Los circuitos funcionales integrados MMIC basados ​​en tecnología de silicio germanio incluyen principalmente un amplificador de bajo ruido., amplificador de potencia, mezclador, detector, modulador, oscilador controlado por voltaje, cambiador de fase, interruptor y otros componentes. El transmisor, El receptor y el DSP son unidades independientes., lo que hace que el proceso de diseño del radar de ondas milimétricas sea complejo y el volumen general sea relativamente grande.

Con el desarrollo de la tecnología COMS, MMIC se hace más pequeño por un lado, y por otro lado, Proporciona viabilidad tecnológica para su integración con DSP y MCU.. Al final de 2016, TI lanzó un chip de radar de onda milimétrica de 77 GHz altamente integrado AWR1642 basado en tecnología CMOS, integrando MMIC frontal, DSP y MCU en un solo SOC. Al tiempo que se reduce significativamente el coste del radar de ondas milimétricas., También reduce en gran medida la dificultad de desarrollo..

DSP de PCBA de radar de onda milimétrica

Incorporando diferentes algoritmos de procesamiento de señales., DSP extrae señales IF recopiladas desde el front-end para obtener tipos específicos de información de destino. DSP es el núcleo de la estabilidad y confiabilidad del radar de ondas milimétricas.

Circuito de control del PCBA de radar de onda milimétrica

El circuito de control del radar de ondas milimétricas lleva a cabo la fusión de datos de acuerdo con la información del objetivo emitida por el DSP y la información dinámica de la carrocería del vehículo., y finalmente lleva a cabo el procesamiento de decisiones a través del procesador principal.

Según las diferentes formas de irradiar ondas electromagnéticas, Los radares de ondas milimétricas se dividen principalmente en dos tipos.: Sistema operativo de onda de pulso y sistema operativo de onda continua..

La tecnología de onda de pulso se refiere a que el radar de onda milimétrica transmite pulsos cortos con potencia máxima en poco tiempo., realiza mediciones de velocidad y distancia del objeto según la frecuencia Doppler y el principio TOF, y realiza una medición de ángulo basada en la diferencia de fase de la onda de pulso reflejada por el mismo objetivo recibido por una antena receptora paralela. Por su alto poder, puede detectar objetivos en movimiento con pequeña amplitud a larga distancia en un contexto de gran desorden. Pero también trae las desventajas del alto costo., alto volumen y alto consumo de energía. Actualmente, Este método rara vez se adopta en el campo de los radares de ondas milimétricas montados en vehículos..

La tecnología de onda continua también se puede dividir en FSK (manipulación por desplazamiento de frecuencia, que puede medir la distancia y la velocidad de un solo objetivo), CW (onda continua de frecuencia constante, que solo se puede utilizar para medir la velocidad pero no para medir la distancia) y FMCW (onda continua modulada en frecuencia). entre ellos, FMCW se ha convertido en una tecnología común en la tecnología de onda continua debido a sus ventajas de detección simultánea de múltiples objetivos., alta resolución y bajo costo.

Después de recibir la onda electromagnética transmitida desde la antena receptora del radar de onda milimétrica, La señal de eco y la señal transmitida se enviarán al mezclador para mezclar.. A medida que la señal transmitida encuentra el objetivo medido y regresa, la frecuencia de la señal de eco ha cambiado en comparación con la señal transmitida. El propósito del mezclador es calcular la diferencia de frecuencia entre la señal transmitida y la señal de eco., que se llama señal IF. La señal IF contiene el secreto de alcance del objetivo medido., y la información del alcance del objetivo medido se puede obtener después de un procesamiento posterior, como el filtrado, amplificación, Conversión analógica a digital y medición de frecuencia..

Para medición de velocidad, La fase de la señal de eco recibida por el radar de onda milimétrica será diferente debido a la diferente distancia del objetivo medido.. Todas las señales de chirrido único en un cuadro se muestrean a intervalos iguales, y los datos en los puntos de muestreo se transforman de Fourier, Luego, la velocidad del objetivo medido se mide utilizando la diferencia de fase..

Para medir ángulos, Se utilizan múltiples antenas receptoras para recibir la misma señal de eco y calcular la diferencia de fase entre las señales de eco para lograr la medición del ángulo..

DE IWR1843

3Radar de onda milimétrica D

El radar de ondas milimétricas solo puede generar distancia, información de velocidad y ángulo, que también se llama radar de onda milimétrica 3D. Y esta distancia D y ángulo θ son los datos del vehículo instalado con radar en el sistema de coordenadas polares del plano.. Convirtiendo el sistema de coordenadas polares al sistema de coordenadas cartesiano, Podemos obtener la distancia desde el vehículo objetivo hasta el propio vehículo en las direcciones x e y.. En este momento, ¿Encuentra que falta la distancia en la dirección z de la dimensión?. Esta es también una de las deficiencias del radar de ondas milimétricas 3D que ha sido criticada..

Sin embargo, Esta desventaja es fatal para los objetos estáticos.. Las tapas de alcantarilla, badenes, varios carteles colgados en el aire, estructuras elevadas, vehículos estacionarios, etc.. En medio de la carretera, el radar de ondas milimétricas 3D no puede determinar si estos obstáculos afectan el tráfico debido a la falta de información de altura.. Para objetos estáticos, Los fabricantes son simples y toscos., ya sea ignorando directamente o reduciendo en gran medida la confianza. Esta es también una de las razones de los accidentes anteriores de Tesla.. La cámara no identificó el vagón de carga blanco caído, y el radar de ondas milimétricas lo hizo. Sin embargo, la confianza en la toma de decisiones era demasiado baja, lo que hace que el vehículo no active la función automática de emergencia.

4Radar de onda milimétrica D

La característica más notable del radar de ondas milimétricas 4D es que puede detectar con precisión el ángulo de cabeceo., para obtener los datos de altura real del objetivo medido, eso es, la distancia del objeto objetivo en la dirección del eje z en el sistema de coordenadas cartesiano. Con esta característica, El radar de ondas milimétricas 4D puede identificar objetos estacionarios, y se ha añadido el trozo de madera más corto. Además, la resolución del radar de ondas milimétricas 4D también se ha mejorado considerablemente. Sus resoluciones horizontal y vertical son 1 ° y 2 ° respectivamente, y su resolución horizontal es 5-10 veces mayor que el del radar de onda milimétrica 3D ordinario.

 

Anterior:

Próximo:

Deja una respuesta

Dejar un mensaje